第二十讲                                                                                 下一讲

学时:2学时

课题: 7.4提高梁强度的主要措施7.5梁弯曲时的变形和刚度条件

目的任务:理解提高梁强度的主要措施、梁弯曲时的变形和刚度条件

重点:提高梁强度的主要措施

难点:梁弯曲时的变形 

教学方法:多媒体

作业:7-3、7-5

作业问题:

7.4 提高梁强度的主要措施

    提高梁强度的主要措施是:

1)降低弯矩M的数值 2)增大抗弯截面模量Wz的数值

7.4.1降低最大弯矩Mmax数值的措施

1.合理安排梁的支承

最大弯矩,只为前者的五分之一。

工程实例:龙门吊车的大梁  2  油罐

2.合理布置载荷

 

7.4.2合理选择梁的截面

    合理的截面应该是:用最小的截面面积(即用材料少),得到大的抗弯截面模量Wz

1.形状和面积相同的截面,采用不同的放置方式,则Wz值可能不相同

    竖放时(左)抗弯截面模量大,承载能力强,不易弯曲;

    平放时(右),抗弯截面模量小,承载能力差,易弯曲。

    工字钢、槽钢等梁放置方式不同其抗弯截面模量也不同,承载能力不同。

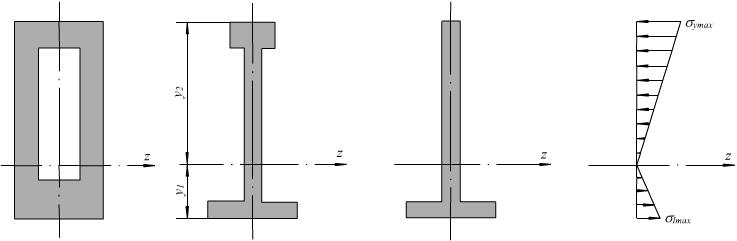
2.面积相等而形状不同的截面,其抗弯截面模量Wz值不相同

    材料远离中性轴的截面(如圆环形、工字形等)比较经济合理。

    因为弯曲正应力沿截面高度线性分布,中性轴附近的应力较小,该处的材料不能充分发挥作用,将这些材料移置到离中性轴较远处,则可使它们得到充分利用,形成“合理截面”。

    对于矩形截面,则可把中性轴附近的材料移置到上、下边缘处而形成工字形截面。

    工程中的吊车梁、桥梁常采用工字形、槽形或箱形截面,房屋建筑中的楼板采用空心圆孔板。

3.截面形状应与材料特性相适应

    对抗拉和抗压强度相等的塑性材料,宜采用中性轴对称的截面,如圆形、矩形、工字形等。

   

对抗拉强度小于抗压强度的脆性材料,宜采用中性轴偏向受拉一侧的截面形状。

7.4.3采用等强度梁

    对于等截面梁,除Mmax所在截面的最大正应力达到材料的许用应力外,其余截面的应力均小于,甚至远小于许用应力。

    为了节省材料,减轻结构的重量,可在弯矩较小处采用较小的截面,这种截面尺寸沿梁轴线变化的梁称为变截面梁。

等强度梁——使变截面梁每个截面上的最大正应力都等于材料的许用应力,则这种梁称之。

例:

 

7.5 梁弯曲时的变形和刚度条件

7.5.1梁弯曲时的变形

挠曲线AB1

挠度yC(CC1   yB(BB1)      形心

    正、负号规定:与坐标轴y的正方向一致时为正;反之为负。单位mm

转角:横截面相对于原来位置转过的角度q。单位弧度

    正、负号规定:逆时针方向的转角为正,反之为负。

7.5.2梁弯曲时的刚度条件