第九讲                                                                                  下一讲

学时:2学时

课题:第三章 空间力系  3.1力的投影和力对轴之矩  3.2空间力系的平衡

目的任务:理解力的投影和力对轴之矩、掌握空间力系的平衡条件

重点:空间力系的平衡条件

难点:力对轴之矩

作业:题3-1、题3-2

第三章 空间力系

空间力系——各力的作用线不在同一平面内的力系。

3.1 力的投影和力对轴之矩

3.1.1力在空间直角坐标轴上的投影 

1.一次投影法

    设空间直角坐标系的三个坐标轴如图所示,已知力F与三个坐标轴所夹的锐角分别为abg,则力F在三个轴上的投影等于力的大小乘以该夹角的余弦,即

 

2.二次投影法 

    有些时候,需要求某力在坐标轴上的投影,但没有直接给出这个力与坐标轴的夹角,而必须改用二次投影法。

    如图所示,若已知力F与z轴的夹角为g ,力F和z轴所确定的平面与x轴的夹角为j,可先将力F在oxy平面上投影,然后再向x、y轴进行投影。则力在三个坐标轴上的投影分别为

    反过来,若已知力在三个坐标轴上的投影Fx、Fy、Fz,也可求出力的大小和方向,即

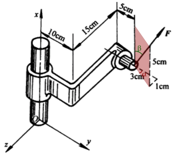
例3-1 斜齿圆柱齿轮上A点受到啮合力Fn的作用,Fn沿齿廓在接触处的法线方向,如图所示。an 为压力角,β为斜齿轮的螺旋角。试计算圆周力Ft、径向力Fr、轴向力Fa的大小。

解 建立图示直角坐标系Axyz,先将法向力Fn向平面Axy投影得Fxy,其大小为

Fxy=Fncosan 

向z轴投影得径向力

Fr=Fnsinan 

然后再将Fxyx、y轴上投影,如图所示。因q ,得

圆周力                                Ft=Fxycosβ=Fncosancosβ

轴向力                                Fa=Fxysinβ=Fncosansinβ

3.1.2力对轴之矩

  在平面力系中,建立了力对点之矩的概念。力对点的矩,实际上是力对通过矩心且垂直于平面的轴的矩。

    以推门为例,如图所示。门上作用一力F,使其绕固定轴z转动。现将力F分解为平行于z轴的分力Fz和垂直于z轴的分力Fxy(此分力的大小即为力F在垂直于z轴的平面A上的投影)。由经验可知,分力Fz不能使静止的门绕z轴转动,所以分力Fz对z轴之矩为零;只有分力Fxy才能使静止的门绕z轴转动,即Fxy对z轴之矩就是力F对z轴之矩。现用符号Mz(F)表示力F对z轴之矩,点O为平面A与z轴的交点,d为点O到力Fxy 作用线的距离。因此力F对z轴之矩为

    上式表明:力对轴之矩等于这个力在垂直于该轴的平面上的投影对该轴与平面交点之矩。力对轴之矩是力使物体绕该轴转动效应的度量,是一个代数量。其正负号可按下法确定:从z轴正端来看,若力矩逆时针,规定为正,反之为负。

    力对轴之矩等于零的情况:(1)当力与轴相交时(此时d=0);(2)当力与轴平行时。

3.1.3合力矩定理

    如一空间力系由F1F2、…、Fn组成,其合力为FR,则可证明合力FR对某轴之矩等于各分力对同一轴之矩的代数和。写为

题3-1 在如图所示边长a=12cm,b=16cm,c=10cm的六面体上,作用力F1=2kN, F2=2kN,F3=4kN,试计算各力在坐标轴上的投影。

题3-2 图示力F=1000N,求F对z轴的矩Mz。